
图片来源于网络,如有侵权,请联系删除
证券之星消息,根据天眼查APP数据显示中国石化(600028)新获得一项发明专利授权,专利名为“一种检测箱及具有该检测箱的检测装置”,专利申请号为CN201910341662.8,授权日为2025年6月27日。
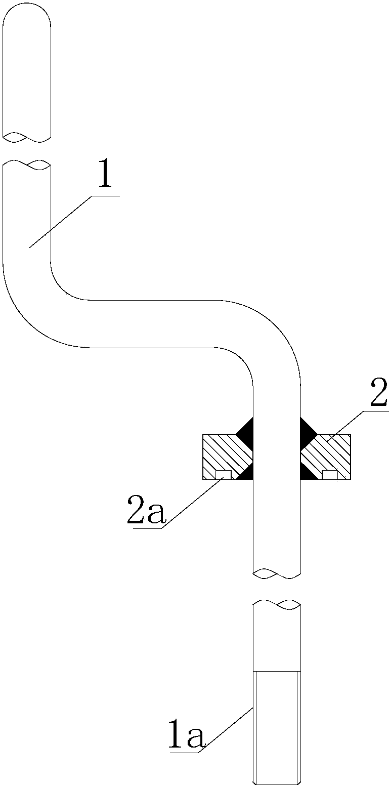
专利摘要:本发明涉及一种检测箱及具有其的检测装置,检测箱包括具有容纳腔的箱体,容纳腔的相对两侧壁开设有开口;检测部具有上支架和下支架,下支架与容纳腔连接,上支架与下支架转动连接,上支架与下支架扣合形成待检测件的检测区,上支架和下支架上均设置有传感器;导向轮组件,设置在开口处,导向轮组件包括固定导向轮和活动导向轮,固定导向轮与箱体连接且位于开口的下端,活动导向轮通过安装架与箱体转动连接,活动导向轮位于固定导向轮的上方,固定导向轮与活动导向轮配合形成固定待检测件的支撑区域。本发明实施例的导向轮组件和检测部由于均采用可开合的半开式结构,因此能够安装在较长的待检测件上,便于快速安装和检测。

图片来源于网络,如有侵权,请联系删除
今年以来中国石化新获得专利授权1531个,较去年同期减少了46%。结合公司2024年年报财务数据,2024年公司在研发方面投入了152.15亿元,同比增8.92%。
通过天眼查大数据分析,中国石油化工股份有限公司共对外投资了261家企业,参与招投标项目15225次;财产线索方面有商标信息106条,专利信息89858条,著作权信息1102条;此外企业还拥有行政许可39个。
数据来源:天眼查APP
以上内容为证券之星据公开信息整理,由AI算法生成(网信算备310104345710301240019号),不构成投资建议。
