-
爱仕达获得实用新型专利授权:“一种旋钮式开合的压力锅”
图片来源于网络,如有侵权,请联系删除证券之星消息,根据天眼查APP数据显示爱仕达(002403)新获得一项实用新型专利授权,专利名为“一种旋钮式开合的压力锅”,专利申请号为CN202422394749.0,授权日为2025年6月6日。 专利摘要:本实用新型公开了一种旋钮式开合的压力锅,属于烹饪器具技术领域,目的在于克服现有的压力锅开合盖操作较为费力的缺陷。压力锅包括锅体和锅盖,锅盖包括定位在锅体上的固定组件和可相对固定组件转动的锁盖,固定组件中部上设有可转动的旋钮,固定组...
作者:小微 日期:2025年06月07日 35683 -
华帝股份获得发明专利授权:“内旋火防干烧燃烧器及应用其的燃气灶具”
图片来源于网络,如有侵权,请联系删除证券之星消息,根据天眼查APP数据显示华帝股份(002035)新获得一项发明专利授权,专利名为“内旋火防干烧燃烧器及应用其的燃气灶具”,专利申请号为CN202010885221.7,授权日为2025年6月6日。 专利摘要:本发明公开了内旋火防干烧燃烧器及应用其的燃气灶具,内旋火防干烧燃烧器包括炉头、内火盖、外火盖、温度检测组件以及隔热组件;所述内火盖和外火盖均设置在炉头上,所述温度检测组件穿设炉头和内火盖设置用于采集燃烧器上锅具的温度防...
作者:小微 日期:2025年06月07日 40627 -
荣泰健康获得发明专利授权:“一种多维度按摩装置”
图片来源于网络,如有侵权,请联系删除证券之星消息,根据天眼查APP数据显示荣泰健康(603579)新获得一项发明专利授权,专利名为“一种多维度按摩装置”,专利申请号为CN202210392613.9,授权日为2025年6月6日。 专利摘要:本发明涉及一种多维度按摩装置,包括按摩执行模块和按摩控制模块,还包括一个或者多个协作功能系统,协作功能系统包括功能控制模块和功能执行模块,功能控制模块并能够根据按摩执行模块传来的数据控制功能执行模块执行协作功能,按摩控制模块中设有多种按...
作者:小微 日期:2025年06月07日 50099 -
经纬恒润获得发明专利授权:“一种交通流仿真方法和相关设备”
图片来源于网络,如有侵权,请联系删除证券之星消息,根据天眼查APP数据显示经纬恒润(688326)新获得一项发明专利授权,专利名为“一种交通流仿真方法和相关设备”,专利申请号为CN202111642202.2,授权日为2025年6月6日。 专利摘要:本发明提供一种交通流仿真方法和相关设备,在交通流仿真过程中,通过场景状态量实时调整仿真车辆在下一仿真步长的运动状态,并且基于车辆控制参数以及预设的车辆运动状态限制条件对车辆下一仿真步长的运动状态进行校正,使得车辆的运动状态更加...
作者:小微 日期:2025年06月07日 50047 -
宝钢股份获得发明专利授权:“一种钙铬砂的制备方法”
图片来源于网络,如有侵权,请联系删除证券之星消息,根据天眼查APP数据显示宝钢股份(600019)新获得一项发明专利授权,专利名为“一种钙铬砂的制备方法”,专利申请号为CN202110980082.0,授权日为2025年6月6日。 专利摘要:一种钙铬砂的制备方法,将含铬污泥经过调质、分解、焙烧等工艺,确保Cr元素以无毒性、不挥发的低价态保留在钙铬砂中,制备成具有高附加值的钙铬砂,同时在焙烧过程中收集含硫烟气制备硫酸,使污泥中所含的硫酸盐被还原分解并用于制酸,避免硫元素扩散...
作者:小微 日期:2025年06月07日 52276 -
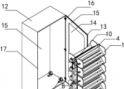
格力电器获得发明专利授权:“一种空调器室外机及其侧板组件”
图片来源于网络,如有侵权,请联系删除证券之星消息,根据天眼查APP数据显示格力电器(000651)新获得一项发明专利授权,专利名为“一种空调器室外机及其侧板组件”,专利申请号为CN201910419783.X,授权日为2025年6月6日。 专利摘要:本发明提供了一种空调器室外机及其侧板组件,涉及换热设备技术领域。包括:侧板本体及盒盖,所述侧板本体与所述盒盖之间形成容置空间;所述盒盖或所述侧板本体上设置有筋条结构,所述筋条结构具有固定端和自由端,所述自由端与所述侧板本体或所...
作者:小微 日期:2025年06月07日 51512 -
建霖家居获得发明专利授权:“一种先导阀”
图片来源于网络,如有侵权,请联系删除证券之星消息,根据天眼查APP数据显示建霖家居(603408)新获得一项发明专利授权,专利名为“一种先导阀”,专利申请号为CN201811210699.9,授权日为2025年6月6日。 专利摘要:本发明公开了一种先导阀,包括本体,所述本体内设置有进水道和出水道,所述进水道与出水道之间设置有能活动的堵水件,所述堵水件上设置有弹性件、第一过水孔和第二过水孔,所述第一过水孔与第二过水孔之间设置有蓄水腔,所述堵水件还配合连接有密封件,所述密封件...
作者:小微 日期:2025年06月07日 44913 -
通源环境获得发明专利授权:“一种渗滤液浓缩液协同超焓燃烧蒸发处理装置及方法”
图片来源于网络,如有侵权,请联系删除证券之星消息,根据天眼查APP数据显示通源环境(688679)新获得一项发明专利授权,专利名为“一种渗滤液浓缩液协同超焓燃烧蒸发处理装置及方法”,专利申请号为CN202411802956.3,授权日为2025年6月6日。 专利摘要:本发明公开了一种渗滤液浓缩液协同超焓燃烧蒸发处理装置及方法。括燃烧室、蒸发室和换热管,燃烧室内部上端设高效传热介质层,加速热量传至蒸发室;内壁有烟气排口、热电偶等部件;中间进气装置含多结构,气液喷头将部分雾化...
作者:小微 日期:2025年06月07日 49716 -
大华股份获得发明专利授权:“晶棒静置完成确定方法、晶棒粘胶系统和计算机设备”
图片来源于网络,如有侵权,请联系删除证券之星消息,根据天眼查APP数据显示大华股份(002236)新获得一项发明专利授权,专利名为“晶棒静置完成确定方法、晶棒粘胶系统和计算机设备”,专利申请号为CN202210253031.2,授权日为2025年6月6日。 专利摘要:本申请涉及一种晶棒静置时间确定方法、晶棒粘胶系统和计算机设备。方法包括:获取目标晶棒;目标晶棒为粘胶后的晶棒,使用热成像设备对目标晶棒的温度进行测量,得到目标晶棒的温度,判断目标晶棒的温度是否在设置的阈值范围...
作者:小微 日期:2025年06月07日 39915 -
佰奥智能获得发明专利授权:“含能材料灌装称重设备”
图片来源于网络,如有侵权,请联系删除证券之星消息,根据天眼查APP数据显示佰奥智能(300836)新获得一项发明专利授权,专利名为“含能材料灌装称重设备”,专利申请号为CN202510370831.6,授权日为2025年6月6日。 专利摘要:本发明公开了一种含能材料灌装称重设备,包括灌装装置、称重器和接料转移装置,灌装装置设有两组防爆流道和下料仓,两组防爆流道的启停动作不同步且送料速度不相同,在送料速度小的防爆流道上设有能使含能材料逐粒流入下料仓中的分流件;称重器设于下料...
作者:小微 日期:2025年06月07日 44989
