-
中信银行获得发明专利授权:“一种架构信息治理方法、装置、设备及可读存储介质”
图片来源于网络,如有侵权,请联系删除证券之星消息,根据天眼查APP数据显示中信银行(601998)新获得一项发明专利授权,专利名为“一种架构信息治理方法、装置、设备及可读存储介质”,专利申请号为CN202111507443.6,授权日为2025年6月10日。 专利摘要:本发明提供了一种架构信息治理方法、装置、设备及可读存储介质,所述方法包括:获取第一输入信息,所述第一输入信息包括任务发起人输入的对架构中包含的每个子系统进行信息反馈任务的信息;响应于所述第一输入信息,向每个...
作者:小微 日期:2025年06月11日 35947 -
南方航空获得发明专利授权:“一种飞机发动机的滑油低压传感系统监控方法及系统”
图片来源于网络,如有侵权,请联系删除证券之星消息,根据天眼查APP数据显示南方航空(600029)新获得一项发明专利授权,专利名为“一种飞机发动机的滑油低压传感系统监控方法及系统”,专利申请号为CN202310289787.7,授权日为2025年6月10日。 专利摘要:本发明公开了一种飞机发动机的滑油低压传感系统监控方法及系统,该方法包括:监测发动机在起动阶段和关车阶段下的第一发动机参数,进行事件触发条件检测;当满足事件触发条件时,获取第二发动机参数,根据第二发动机参数生...
作者:小微 日期:2025年06月11日 50883 -
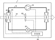
格力电器获得发明专利授权:“一种除湿装置及具有其的空调器”
图片来源于网络,如有侵权,请联系删除证券之星消息,根据天眼查APP数据显示格力电器(000651)新获得一项发明专利授权,专利名为“一种除湿装置及具有其的空调器”,专利申请号为CN202111151876.2,授权日为2025年6月10日。 专利摘要:本发明公开了一种除湿装置及具有其的空调器。该除湿装置包括:壳体及中间隔板,所述中间隔板在所述壳体内部分隔出第一腔室和第二腔室,所述中间隔板设有连通所述第一腔室和所述第二腔室的第二透气结构;所述壳体设有将除湿装置所在环境与所述...
作者:小微 日期:2025年06月11日 53470 -
中亚股份获得发明专利授权:“一种旋转罐装用夹瓶装置”
图片来源于网络,如有侵权,请联系删除证券之星消息,根据天眼查APP数据显示中亚股份(300512)新获得一项发明专利授权,专利名为“一种旋转罐装用夹瓶装置”,专利申请号为CN202210433346.5,授权日为2025年6月10日。 专利摘要:本发明公开了一种旋转罐装用夹瓶装置,包括:托板、立柱、瓶身限位机构、瓶嘴限位机构;所述立柱和所述托板固定连接且沿竖向延伸;所述瓶身限位机构和所述立柱连接且设置在所述托板的上方;所述瓶嘴限位机构和所述立柱连接且设置在所述瓶身限位机构...
作者:小微 日期:2025年06月11日 37135 -
中国电信获得发明专利授权:“纠正终端型号库的方法及装置、电子设备及介质”
图片来源于网络,如有侵权,请联系删除证券之星消息,根据天眼查APP数据显示中国电信(601728)新获得一项发明专利授权,专利名为“纠正终端型号库的方法及装置、电子设备及介质”,专利申请号为CN202111588647.7,授权日为2025年6月10日。 专利摘要:本公开关于一种纠正终端型号库的方法及装置、电子设备及介质,涉及计算机技术领域。该方法包括:获取用户行为数据中的用户代理数据,基于用户代理数据的识别算法,识别用户代理数据中的非标准终端型号;根据注册上报终端型号库...
作者:小微 日期:2025年06月11日 45908 -
格力电器获得发明专利授权:“一种洗涤剂投放组件及洗衣机”
图片来源于网络,如有侵权,请联系删除证券之星消息,根据天眼查APP数据显示格力电器(000651)新获得一项发明专利授权,专利名为“一种洗涤剂投放组件及洗衣机”,专利申请号为CN202011368659.4,授权日为2025年6月10日。 专利摘要:本发明提供一种洗涤剂投放组件及洗衣机。洗涤剂投放组件,用于洗涤剂的投放,包括洗涤剂盒,所述洗涤剂盒内设置有用于存放洗涤剂的储液腔;安装箱体,包括用于安装所述洗涤剂盒的空腔,所述洗涤剂盒可拆卸连接或者活动连接在所述空腔内;压紧机...
作者:小微 日期:2025年06月11日 37482 -
天目药业:白花蛇草水是公司与华东葡萄酿酒有限公司战略合作开发的产品
图片来源于网络,如有侵权,请联系删除证券之星消息,天目药业(600671)06月10日在投资者关系平台上答复投资者关心的问题。 投资者:公司会不在联合青岛当地企业推出白花蛇草水饮品的基础上,依托自身中药企业优势开发中药本草类的饮料?天目药业董秘:尊敬的投资者,您好!白花蛇草水是公司与华东葡萄酿酒有限公司战略合作开发的产品,是公司在大健康板块的创新布局,2024年度共实现342.32万元销售收入。公司将借鉴白花蛇草水的成功经验,依托自身中药优势开发更多适应市场需求的健康产品...
作者:小微 日期:2025年06月10日 46346 -
奥普特:公司研发团队核心成员由光学、机械、软件等交叉学科的高等教育背景人才组成
图片来源于网络,如有侵权,请联系删除证券之星消息,奥普特(688686)06月10日在投资者关系平台上答复投资者关心的问题。 投资者:公司是高科技企业,从公司的人员结构看,大专及以下学历员工占比超60%,研发人员占比又接近50%,是否研发人职能员工中也有大量大专及以下学历员工,在这种情况下公司是如何保障研发的进度和效率,公司整体研发人才规划是怎么样的,研发占营收20%,研发费用是怎么投入的?面向未来,公司如何保持竞争力奥普特董秘:尊敬的投资者,您好。截至2024年12月3...
作者:小微 日期:2025年06月10日 45703 -
华阳股份:碳纤维材料可广泛应用于多个领域公司将重点布局“高精尖”领域
图片来源于网络,如有侵权,请联系删除证券之星消息,华阳股份(600348)06月10日在投资者关系平台上答复投资者关心的问题。 投资者:贵司管理层研究过用碳纤维制造无人机产业?华阳股份董秘:尊敬的投资者,您好!碳纤维材料可广泛应用于多个领域。公司将重点布局“高精尖”领域,同步推进多场景应用。感谢关注投资者:董秘,自从去年煤碳价格明显下行,我司净利大幅下跌以来,广大投资者对我司人力资源配置产生强烈质疑,主要是对标先进企业我司同等出煤量人员却明显多,我司有试运转矿一处,还有今...
作者:小微 日期:2025年06月10日 47734 -
银信科技:公司业务目前不涉及计算机相关硬件产品的生产
图片来源于网络,如有侵权,请联系删除证券之星消息,银信科技(300231)06月10日在投资者关系平台上答复投资者关心的问题。 投资者:公司推出单机架容量达?10PB?的磁电融合存储设备,较传统存储提升3倍容量,功耗降低90%,请问产品是否适配数字货币海量数据存储需求?是否可以为数字人民币支付终端提供底层支撑?公司联合华为开发磁电磁盘(MED)技术设备(如OceanStor Arctic),请问产品是否可以强化支付系统高并发处理能力?银信科技董秘:您好,公司是数据中心IT...
作者:小微 日期:2025年06月10日 52412
