
图片来源于网络,如有侵权,请联系删除
证券之星消息,根据天眼查APP数据显示中国石化(600028)新获得一项实用新型专利授权,专利名为“一种超声波流量计传感器快速拆装装置”,专利申请号为CN202423018354.7,授权日为2025年10月21日。
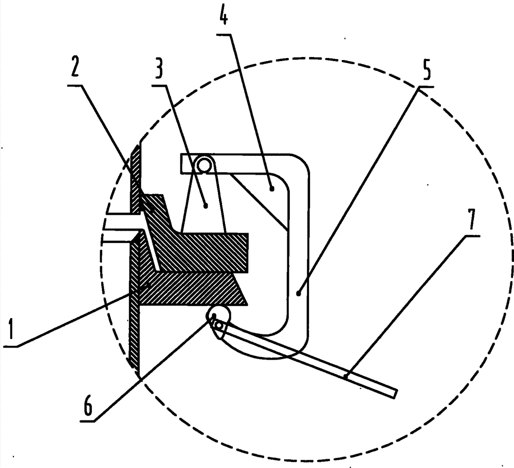
专利摘要:本实用新型涉及油水流量测试技术领域,公开了一种超声波流量计传感器快速拆装装置,其包括固定架、钢直尺固定槽、钢珠链条紧固端及固定螺丝;固定架包括本体,本体为不设底边的方形壳体,两个相对侧边下部分别开设倒U型侧口,侧口的下方镂空形成喇叭口,本体的顶边两侧设有螺丝孔,本体的顶边中部设有方形凸起;钢直尺固定槽为贯通方形凸起的扁口型,侧壁上开设有顶丝孔;钢珠链条紧固端设为耳孔型,设于本体的另外两个侧边外方。本实用新型固定架与传感器连接成一体,固定牢靠;钢珠链条容易紧固;有效提高测量精确度;有效降低现场测试人员的劳动强度;节约检测时间,提高检测效率;适用于各种规格尺寸的管线的流量计在线测量。

图片来源于网络,如有侵权,请联系删除
今年以来中国石化新获得专利授权3306个,较去年同期减少了17.94%。结合公司2025年中报财务数据,今年上半年公司在研发方面投入了61.86亿元,同比增3.05%。
通过天眼查大数据分析,中国石油化工股份有限公司共对外投资了263家企业,参与招投标项目16391次;财产线索方面有商标信息106条,专利信息89212条,著作权信息1179条;此外企业还拥有行政许可40个。
数据来源:天眼查APP
以上内容为证券之星据公开信息整理,由AI算法生成(网信算备310104345710301240019号),不构成投资建议。
