
图片来源于网络,如有侵权,请联系删除
证券之星消息,根据天眼查APP数据显示小熊电器(002959)新获得一项实用新型专利授权,专利名为“波形旋转刀组”,专利申请号为CN202421692951.5,授权日为2025年7月15日。
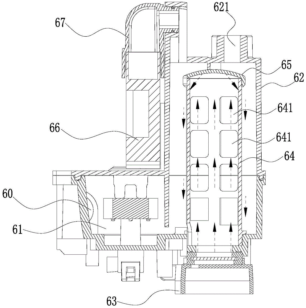
专利摘要:本实用新型涉及波形旋转刀组,包括转轴、轴套和第一刀组。轴套套设在转轴上,第一刀组连接轴套,第一刀组包括波形刀。沿转轴的轴向,波形刀的刀面为起伏的波浪状。其中,波形刀包括至少一个波峰和至少一个波谷,波峰和波谷交错设置。本实用新型通过波形刀起伏的刀面增强了波形刀在竖直方向上的有效工作区域。且波形刀起伏的刀面,限制被切割的食材向远离转轴方向移动,让食材更多地留在波形刀的工作区域内,提升切碎效率。同时刀面的起伏,波形刀可以接触到不同高度的食材,也会提升波形刀的搅拌效果。
今年以来小熊电器新获得专利授权160个,较去年同期增加了20.3%。结合公司2024年年报财务数据,2024年公司在研发方面投入了1.95亿元,同比增36.48%。
通过天眼查大数据分析,小熊电器股份有限公司共对外投资了29家企业,参与招投标项目79次;财产线索方面有商标信息2521条,专利信息2645条,著作权信息106条;此外企业还拥有行政许可35个。
数据来源:天眼查APP
以上内容为证券之星据公开信息整理,由AI算法生成(网信算备310104345710301240019号),不构成投资建议。
