宁德时代公布国际专利申请:“隔离膜及其制备方法、电池和用电装置”

小微 2025年07月12日 阅读:46209

宁德时代公布国际专利申请:“隔离膜及其制备方法、电池和用电装置”
图片来源于网络,如有侵权,请联系删除

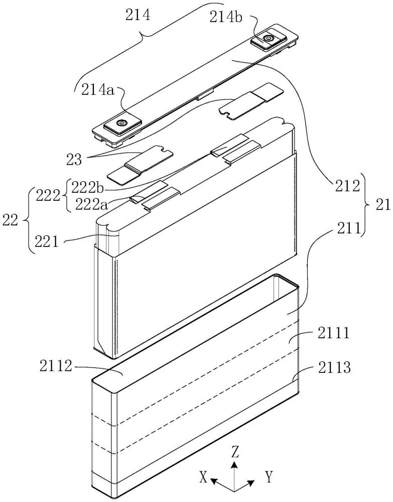
证券之星消息,根据企查查数据显示宁德时代(300750)公布了一项国际专利申请,专利名为“隔离膜及其制备方法、电池和用电装置”,专利申请号为PCT/CN2024/119787,国际公布日为2025年7月10日。

专利详情如下:

图片来源:世界知识产权组织(WIPO)

今年以来宁德时代已公布的国际专利申请871个,较去年同期增加了19.32%。结合公司2024年年报财务数据,2024年公司在研发方面投入了186.07亿元,同比增1.37%。

数据来源:企查查

以上内容为证券之星据公开信息整理,由AI算法生成(网信算备310104345710301240019号),不构成投资建议。

热门文章
  • "健康中国2030"战略下康养产业投资机会_人保财险 ,人保护你周全

    图片来源于网络,如有侵权,请联系删除"健康中国2030"战略下康养产业投资机会 2025年5月22日 来源:互联网 1090 70 北京用户提问:市场竞争激烈,外来强手加大布局,国内主题公园如何突围? 上海用户提问:智能船舶发展行动计划发布,船舶制造企业的机 江苏用户提问:研发水平落后,低端产品比例大,医药企业如何实现转型?...
  • 乌方:基辅遭俄军弹道导弹、无人机袭击,多地发生火灾!

    乌方:基辅遭俄军弹道导弹、无人机袭击,多地发生火灾!
    图片来源于网络,如有侵权,请联系删除 每经编辑|段炼     图片来源于网络,如有侵权,请联系删除 总台记者消息,乌克兰首都基辅当地时间24日凌晨传出爆炸声。基辅市市长称当地遭俄方空袭,防空系统正在运行,督促市民前往避难所。乌克兰空军称俄军向基辅发射弹道导弹。 另据乌克兰媒体报道,乌上空有50架攻击型无人机,其中大部分飞向基辅。爆炸后,基辅多地发生火灾,基辅市长称目前已有8人在空袭中受伤。 编辑|段炼 易启江...
  • Nymex美原油期货主力刚刚跌破61.00美元/桶关口,日内跌1.37%

    Nymex美原油期货主力刚刚跌破61.00美元/桶关口,日内跌1.37%
    图片来源于网络,如有侵权,请联系删除每经AI快讯,Nymex美原油期货主力刚刚跌破61.00美元/桶关口,最新报60.99美元/桶,日内跌1.37%。...
  • 人保服务,人保伴您前行_2025年中国小龙虾养殖行业竞争格局预测及高质量发展路径分析,智能化转型与全球化布局驱动市场重构

    人保服务,人保伴您前行_2025年中国小龙虾养殖行业竞争格局预测及高质量发展路径分析,智能化转型与全球化布局驱动市场重构
    图片来源于网络,如有侵权,请联系删除2025年中国小龙虾养殖行业竞争格局预测及高质量发展路径分析,智能化转型与全球化布局驱动市场重构 2025年5月26日 来源:中研网 659 38 北京用户提问:市场竞争激烈,外来强手加大布局,国内主题公园如何突围? 上海用户提问:智能船舶发展行动计划发布,船舶制造企业的机 江苏用户提问:研发水平落...
  • 文博会首单离境退税“即买即退”诞生;又一款珠海造无人驾驶飞行器获适航证丨大湾区财经早参

    文博会首单离境退税“即买即退”诞生;又一款珠海造无人驾驶飞行器获适航证丨大湾区财经早参
    图片来源于网络,如有侵权,请联系删除 每经记者|黄婉银    每经编辑|魏文艺      |2025年5月23日 星期五|图片来源于网络,如有侵权,请联系删除 NO.1 文博会首单离境退税“即买即退”诞生 据《深圳特区报》报道,5月22日上午11点左右,在深圳国际会展中心10号馆,来自中国香港的赵资扬在“深圳离境退税专区”购买了一部价格为8599元的华为手机后,当场通过“即买...