
图片来源于网络,如有侵权,请联系删除
证券之星消息,根据天眼查APP数据显示ST逸飞(688646)新获得一项发明专利授权,专利名为“一种密封钉的焊接方法及装置”,专利申请号为CN202210922607.X,授权日为2025年7月11日。
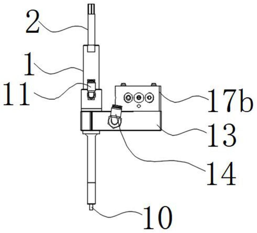
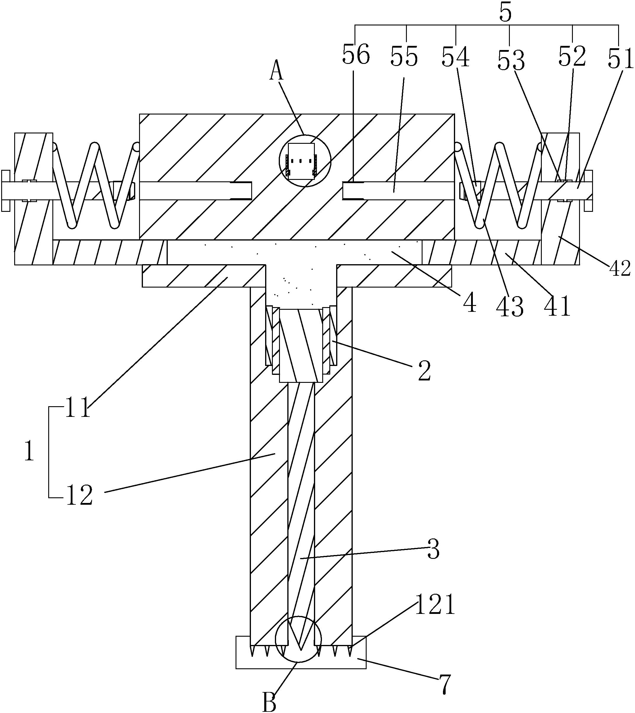
专利摘要:本发明提供一种密封钉的焊接方法及装置,密封钉的焊接方法包括:将电池注液孔调整至焊接工位;驱动密封钉沿导向通道预装至电池注液孔处;压紧所述电池注液孔所处的端面;沿限位通道压紧所述密封钉的端面;对所述密封钉与所述注液孔进行预点焊;对所述密封钉与所述注液孔进行满焊。本发明提供的密封钉的焊接方法及装置,旨在解决传统技术中电池与密封钉焊接精度以及焊接效率较低的问题。

图片来源于网络,如有侵权,请联系删除
今年以来ST逸飞新获得专利授权35个,较去年同期减少了22.22%。结合公司2024年年报财务数据,2024年公司在研发方面投入了9263.67万元,同比增33.42%。
通过天眼查大数据分析,武汉逸飞激光股份有限公司共对外投资了11家企业,参与招投标项目66次;财产线索方面有商标信息49条,专利信息619条,著作权信息74条;此外企业还拥有行政许可11个。
数据来源:天眼查APP
以上内容为证券之星据公开信息整理,由AI算法生成(网信算备310104345710301240019号),不构成投资建议。
