
图片来源于网络,如有侵权,请联系删除
证券之星消息,根据天眼查APP数据显示宁德时代(300750)新获得一项实用新型专利授权,专利名为“一种电池单体、电池和用电设备”,专利申请号为CN202421810032.3,授权日为2025年7月11日。
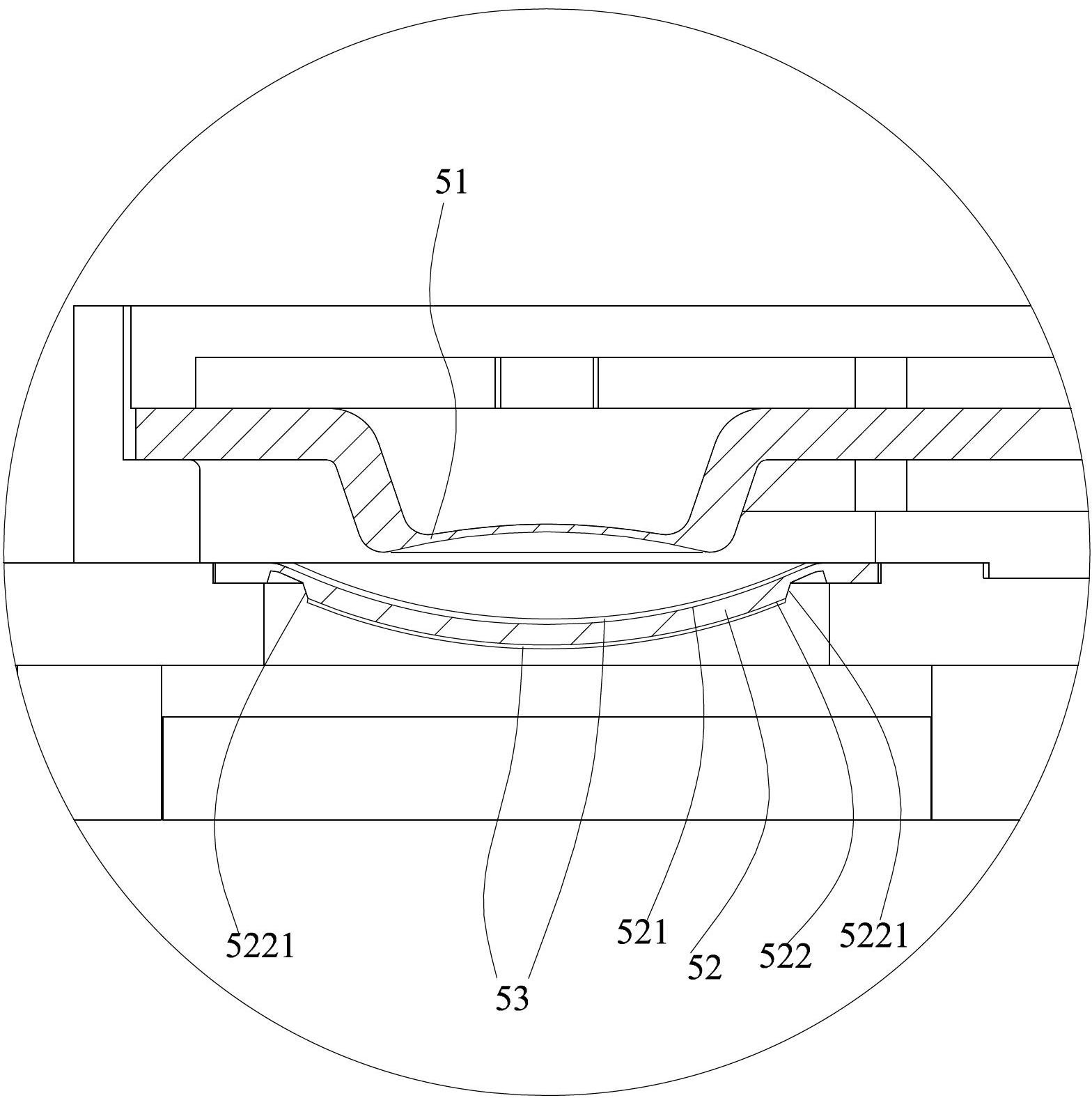
专利摘要:本申请实施例公开了一种电池单体、电池和用电设备,电池单体包括:外壳,外壳包括第一壁以及与第一壁邻接的第二壁,第一壁包括沿第一方向延伸的主体部,第一壁还包括避让部,避让部的内表面与主体部的内表面连接,避让部的内表面朝向外壳外部延伸至第二壁,以与第二壁形成避让空间;电极组件,电极组件容纳于外壳内;其中,第一方向垂直于电极组件的电极极片的堆叠方向,第二壁垂直于第一方向,避让部的延伸方向与第一方向呈锐角,电极组件的端部容纳于避让空间,从而能够保护电极组件的端部,提高电池安全性和可靠性。
今年以来宁德时代新获得专利授权2263个,较去年同期增加了14.41%。结合公司2024年年报财务数据,2024年公司在研发方面投入了186.07亿元,同比增1.37%。
通过天眼查大数据分析,宁德时代新能源科技股份有限公司共对外投资了137家企业,参与招投标项目496次;财产线索方面有商标信息1249条,专利信息18884条,著作权信息392条;此外企业还拥有行政许可983个。
数据来源:天眼查APP
以上内容为证券之星据公开信息整理,由AI算法生成(网信算备310104345710301240019号),不构成投资建议。
