
图片来源于网络,如有侵权,请联系删除
证券之星消息,根据天眼查APP数据显示美盈森(002303)新获得一项实用新型专利授权,专利名为“一种显示器的全纸包装”,专利申请号为CN202421684066.2,授权日为2025年7月11日。
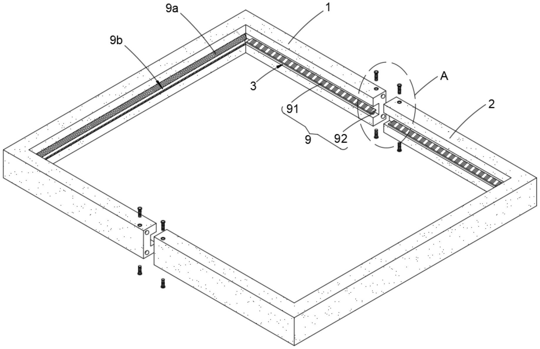
专利摘要:本实用新型适用于显示器包装领域,提供了一种显示器的全纸包装,所述全纸包装包括下托,包覆所述下托呈空腔结构的外箱体,贯穿所述外箱体与所述下托将所述外箱体与所述下托锁定在一起的锁扣,设置在所述下托内用于固定与保护显示器的下缓冲部,及设置在所述外箱体内用于固定与保护显示器的上缓冲部。旨在解决现有技术中内缓冲衬垫选用EPS、EPE等材料,而此类材料无法循环使用的技术问题。
今年以来美盈森新获得专利授权22个,较去年同期增加了57.14%。结合公司2024年年报财务数据,2024年公司在研发方面投入了1.4亿元,同比增5.28%。
通过天眼查大数据分析,美盈森集团股份有限公司共对外投资了28家企业,参与招投标项目19次;财产线索方面有商标信息23条,专利信息603条,著作权信息3条;此外企业还拥有行政许可40个。
数据来源:天眼查APP
以上内容为证券之星据公开信息整理,由AI算法生成(网信算备310104345710301240019号),不构成投资建议。
