
图片来源于网络,如有侵权,请联系删除
证券之星消息,根据天眼查APP数据显示联赢激光(688518)新获得一项实用新型专利授权,专利名为“一种电池模组的高精度组装机构”,专利申请号为CN202421789393.4,授权日为2025年7月11日。
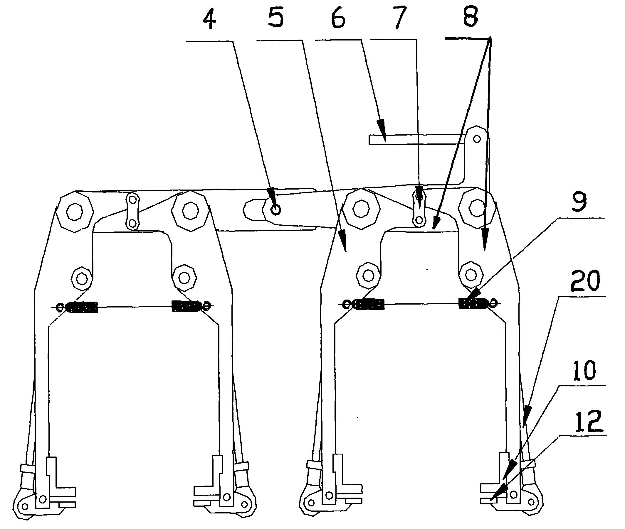
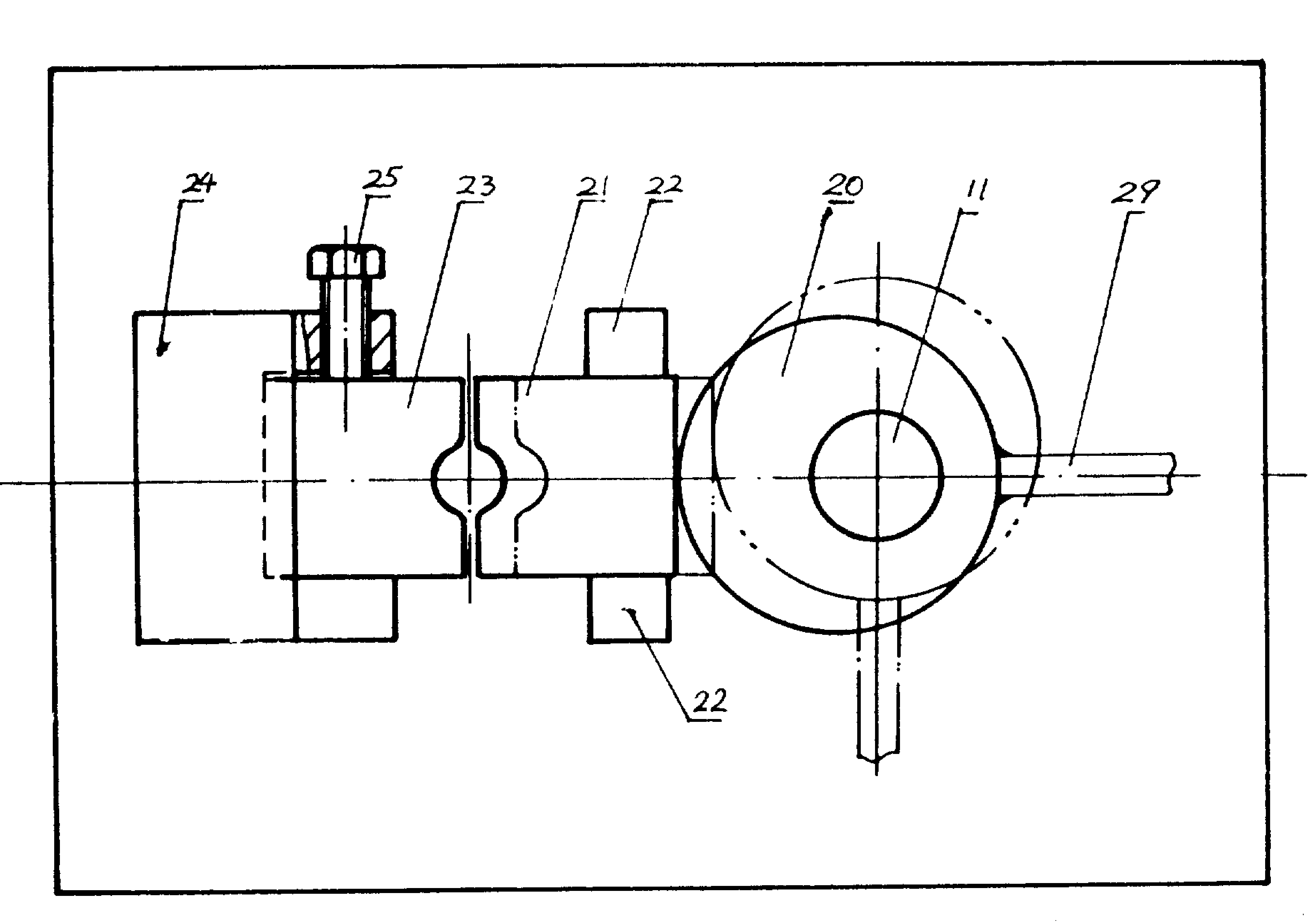
专利摘要:本实用新型提供了一种电池模组的高精度组装机构,包括:母托盘;子托盘;长度限位组件;宽度限位组件;位置调节组件,包括固定于子托盘上的第一联动限位机构、至少两个活动设置于子托盘上的第二联动限位机构;居中相邻设置的两个宽度夹具通过第一联动限位机构相连,其余相邻的两个宽度夹具均通过相应的第二联动限位机构相连,以调整各相邻两个宽度夹具之间的距离;侧压组件,设置于宽度限位组件的外侧,用以促使各宽度夹具同步朝中心方向靠拢挤压或促使各宽度夹具同步朝远离中心方向移动。本实用新型其可便于对大尺寸、大重量的电池模组组装及入箱,有效避免了电芯掉落,并使得各组件之间的位置精度得到有效保证。

图片来源于网络,如有侵权,请联系删除
今年以来联赢激光新获得专利授权40个,较去年同期增加了2.56%。结合公司2024年年报财务数据,2024年公司在研发方面投入了2.36亿元,同比减2.42%。
通过天眼查大数据分析,深圳市联赢激光股份有限公司共对外投资了9家企业,参与招投标项目168次;财产线索方面有商标信息48条,专利信息533条,著作权信息242条;此外企业还拥有行政许可42个。
数据来源:天眼查APP
以上内容为证券之星据公开信息整理,由AI算法生成(网信算备310104345710301240019号),不构成投资建议。
