
图片来源于网络,如有侵权,请联系删除
证券之星消息,根据天眼查APP数据显示设研院(300732)新获得一项实用新型专利授权,专利名为“波形钢腹板组合梁”,专利申请号为CN202422061672.5,授权日为2025年6月3日。
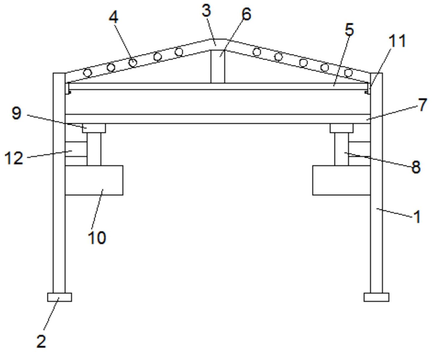
专利摘要:本实用新型公开了一种波形钢腹板组合梁,包括对称设置的一对波形钢腹板,波形钢腹板由顶部厚板段、中部薄板段和底部厚板段焊接而成;顶部厚板段上焊接固连有水平钢顶板,两水平钢顶板上分别通过剪力件连接有混凝土桥面板,两混凝土桥面板之间通过湿接缝连为一体;底部厚板段的底沿上焊接固连有水平钢底板,两水平钢底板之间通过水平设置的连接钢板连为一体;剪力件包括垂直焊固于水平钢顶板上的一对连接立板,两连接立板的顶沿上沿长度方向均匀间隔开设有多对竖孔,竖孔的下端向同侧延伸开设形成横孔,每对横孔内均水平设置有混凝土预埋钢筋。本实用新型优点在于能够提升支固强度及承载能力,节省混凝土预埋钢筋的安装工序,简化操作流程。

图片来源于网络,如有侵权,请联系删除
今年以来设研院新获得专利授权27个,较去年同期增加了58.82%。结合公司2024年年报财务数据,2024年公司在研发方面投入了9816.62万元,同比减23.94%。
数据来源:天眼查APP
以上内容为证券之星据公开信息整理,由AI算法生成(网信算备310104345710301240019号),不构成投资建议。
