
图片来源于网络,如有侵权,请联系删除
证券之星消息,根据天眼查APP数据显示山东钢铁(600022)新获得一项发明专利授权,专利名为“重型链条更换装置”,专利申请号为CN202110726800.1,授权日为2025年6月13日。
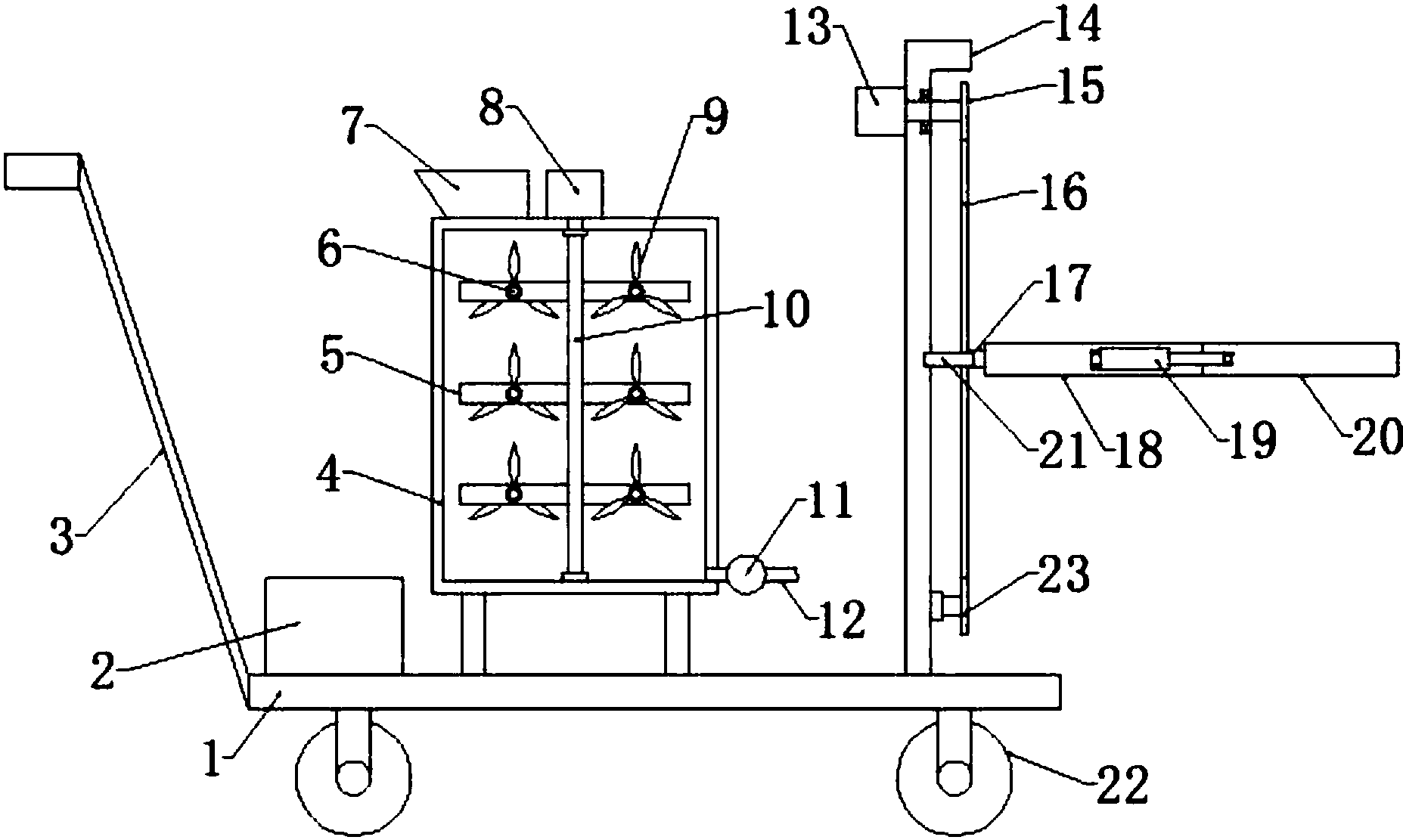
专利摘要:本发明提供一种重型链条更换装置,用于更换链条框架内的链条,包括移动小车、提升丝杠、上料框架、下料框架、主动链轮、驱动机构、升降丝杠和升降平台;上料框架和下料框架均通过提升丝杠设置在移动小车的上方;上料框架为直线型结构,上料框架的出口与链条框架的一侧接触;下料框架具有连接呈L型结构的第一下料框架部和第二下料框架部,第一下料框架部位于链条框架的上表面,升降平台设置在下料框架的上方,升降丝杠设置在下料框架和升降平台之间;主动链轮设置在升降平台上,驱动机构的输出端与主动链轮固定连接。本装置适应大型、重型链条的更换,不仅更换效率高,而且能够降低作业危险。

图片来源于网络,如有侵权,请联系删除
今年以来山东钢铁新获得专利授权87个,较去年同期减少了17.14%。结合公司2024年年报财务数据,2024年公司在研发方面投入了18.41亿元,同比减11.75%。
数据来源:天眼查APP
以上内容为证券之星据公开信息整理,由AI算法生成(网信算备310104345710301240019号),不构成投资建议。
