
图片来源于网络,如有侵权,请联系删除
证券之星消息,根据天眼查APP数据显示格力电器(000651)新获得一项发明专利授权,专利名为“一种除湿装置及具有其的空调器”,专利申请号为CN202111151876.2,授权日为2025年6月10日。
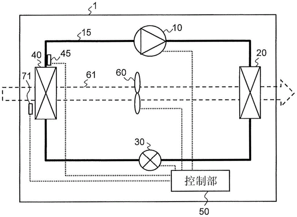
专利摘要:本发明公开了一种除湿装置及具有其的空调器。该除湿装置包括:壳体及中间隔板,所述中间隔板在所述壳体内部分隔出第一腔室和第二腔室,所述中间隔板设有连通所述第一腔室和所述第二腔室的第二透气结构;所述壳体设有将除湿装置所在环境与所述第二腔室连通的第一透气结构;送风组件,所述送风组件设置在所述第一腔室内;电器盒组件,所述电器盒组件设置在所述第二腔室内;其中当所述送风组件工作时,在送风组件入口侧产生负压使外部空气经所述第一透气结构、所述电器盒组件和所述第二透气结构吸至所述送风组件入口侧以形成通风流路对所述电器盒组件进行散热。

图片来源于网络,如有侵权,请联系删除
今年以来格力电器新获得专利授权2716个,较去年同期减少了5.5%。结合公司2024年年报财务数据,2024年公司在研发方面投入了69.04亿元,同比增2.1%。
数据来源:天眼查APP
以上内容为证券之星据公开信息整理,由AI算法生成(网信算备310104345710301240019号),不构成投资建议。
