永杰新材获得实用新型专利授权:“冷轧机油雾回收装置”

小微 2025年06月10日 阅读:42429

永杰新材获得实用新型专利授权:“冷轧机油雾回收装置”
图片来源于网络,如有侵权,请联系删除

证券之星消息,根据天眼查APP数据显示永杰新材(603271)新获得一项实用新型专利授权,专利名为“冷轧机油雾回收装置”,专利申请号为CN202421908990.4,授权日为2025年6月10日。

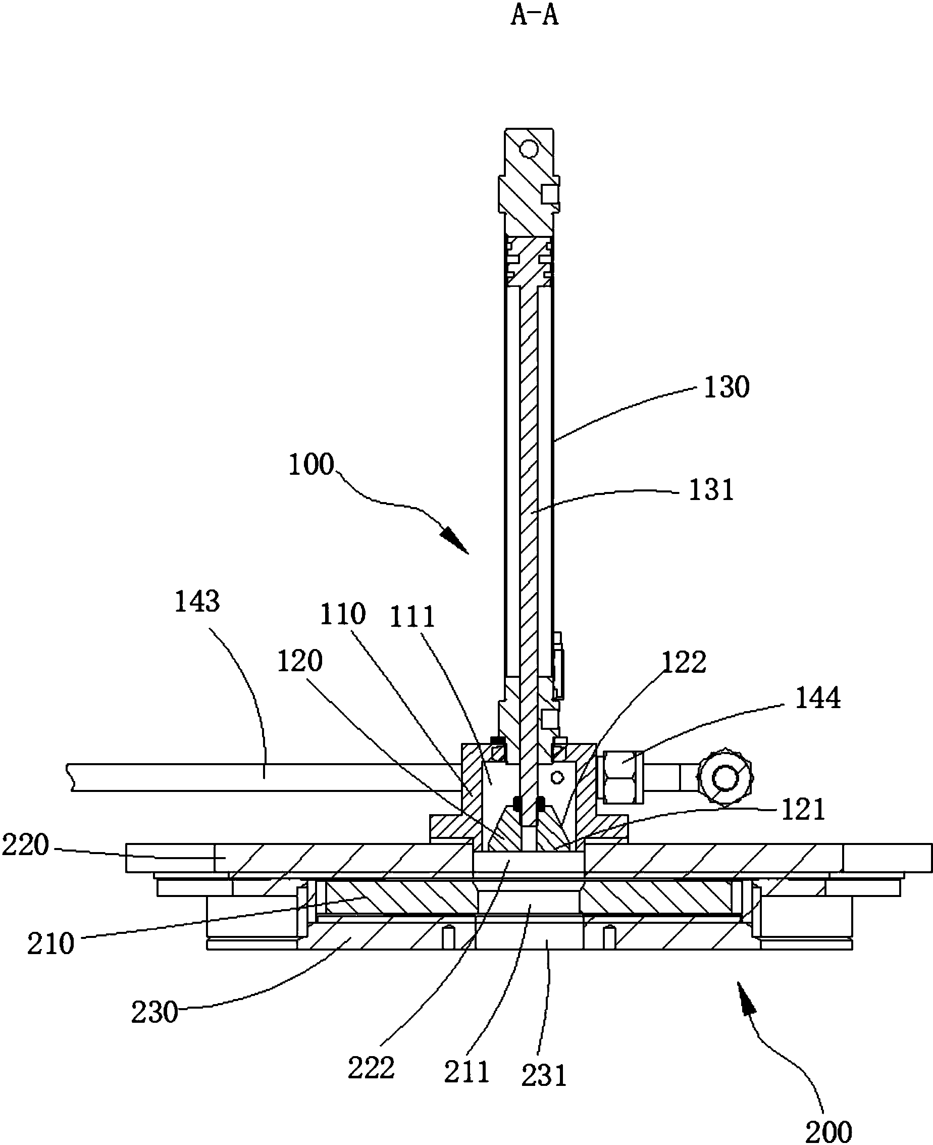
专利摘要:本实用新型提供了一种冷轧机油雾回收装置,冷轧机油雾回收装置包括管道以及固定于管道内的多个油雾回收隔板,油雾通过管道进出,油雾回收隔板用于对油雾进行吸收和冷却;油雾回收隔板包括呈中空状的隔板本体以及收容固定于隔板本体内的液冷管,隔板本体固定于管道内,液冷管的两端贯穿管道与外界冷却水循环系统连接。与现有技术相比,本实用新型提供的冷轧机油雾回收装置运营成本低、维护保养简单,极大的提高了油雾回收能力,降低了生产成本,同时有效吸收了油雾中的挥发物质,减少了污染。

今年以来永杰新材新获得专利授权4个。结合公司2024年年报财务数据,2024年公司在研发方面投入了2.77亿元,同比增26.45%。

数据来源:天眼查APP

以上内容为证券之星据公开信息整理,由AI算法生成(网信算备310104345710301240019号),不构成投资建议。

热门文章
  • "健康中国2030"战略下康养产业投资机会_人保财险 ,人保护你周全

    图片来源于网络,如有侵权,请联系删除"健康中国2030"战略下康养产业投资机会 2025年5月22日 来源:互联网 1090 70 北京用户提问:市场竞争激烈,外来强手加大布局,国内主题公园如何突围? 上海用户提问:智能船舶发展行动计划发布,船舶制造企业的机 江苏用户提问:研发水平落后,低端产品比例大,医药企业如何实现转型?...
  • Nymex美原油期货主力刚刚跌破61.00美元/桶关口,日内跌1.37%

    Nymex美原油期货主力刚刚跌破61.00美元/桶关口,日内跌1.37%
    图片来源于网络,如有侵权,请联系删除每经AI快讯,Nymex美原油期货主力刚刚跌破61.00美元/桶关口,最新报60.99美元/桶,日内跌1.37%。...
  • 人保服务,人保伴您前行_2025年中国小龙虾养殖行业竞争格局预测及高质量发展路径分析,智能化转型与全球化布局驱动市场重构

    人保服务,人保伴您前行_2025年中国小龙虾养殖行业竞争格局预测及高质量发展路径分析,智能化转型与全球化布局驱动市场重构
    图片来源于网络,如有侵权,请联系删除2025年中国小龙虾养殖行业竞争格局预测及高质量发展路径分析,智能化转型与全球化布局驱动市场重构 2025年5月26日 来源:中研网 659 38 北京用户提问:市场竞争激烈,外来强手加大布局,国内主题公园如何突围? 上海用户提问:智能船舶发展行动计划发布,船舶制造企业的机 江苏用户提问:研发水平落...
  • 文博会首单离境退税“即买即退”诞生;又一款珠海造无人驾驶飞行器获适航证丨大湾区财经早参

    文博会首单离境退税“即买即退”诞生;又一款珠海造无人驾驶飞行器获适航证丨大湾区财经早参
    图片来源于网络,如有侵权,请联系删除 每经记者|黄婉银    每经编辑|魏文艺      |2025年5月23日 星期五|图片来源于网络,如有侵权,请联系删除 NO.1 文博会首单离境退税“即买即退”诞生 据《深圳特区报》报道,5月22日上午11点左右,在深圳国际会展中心10号馆,来自中国香港的赵资扬在“深圳离境退税专区”购买了一部价格为8599元的华为手机后,当场通过“即买...
  • 乌方:基辅遭俄军弹道导弹、无人机袭击,多地发生火灾!

    乌方:基辅遭俄军弹道导弹、无人机袭击,多地发生火灾!
    图片来源于网络,如有侵权,请联系删除 每经编辑|段炼     图片来源于网络,如有侵权,请联系删除 总台记者消息,乌克兰首都基辅当地时间24日凌晨传出爆炸声。基辅市市长称当地遭俄方空袭,防空系统正在运行,督促市民前往避难所。乌克兰空军称俄军向基辅发射弹道导弹。 另据乌克兰媒体报道,乌上空有50架攻击型无人机,其中大部分飞向基辅。爆炸后,基辅多地发生火灾,基辅市长称目前已有8人在空袭中受伤。 编辑|段炼 易启江...