-
7月1日玉米淀粉期货持仓龙虎榜分析:多空双方均呈离场态势
图片来源于网络,如有侵权,请联系删除7月1日,合约收报2923.00元/吨,跌幅1.12%,日内环比减仓27318.00手。 据前20名持仓数据来看:主力合约多单持仓107,215手,空单持仓112,047手,净持仓为-4832手,处于净空头状态。 淀粉期货多头持仓龙虎榜:其中、、中泰期货明显增仓,分别增仓1,238手,748手和736手;国泰君安、、华泰期货明显减仓2,786手、1,731手、1,657手。 期货空头持仓龙虎榜:国泰君安增仓3,735手,增...
作者:小微 日期:2024年07月01日 65304 -
7月1日菜籽油期货持仓龙虎榜分析:多方呈进场态势
图片来源于网络,如有侵权,请联系删除7月1日,盘面走高,主力合约收报8474元/吨,涨幅1.24%,日内环比减仓4292手。 据前20名期货公司持仓数据来看:合约多单持仓157132手,空单持仓215801手,净持仓为-58669手,处于净空头状态。 期货多头持仓龙虎榜:其中、摩根大通、明显增仓,分别增仓1,566手、1,279手、668手;、国泰君安、分别减仓503手、823手、912手。 菜籽油期货空头持仓龙虎榜:其中东证期货、中国国际、中信建投明显增仓,分别增仓2...
作者:小微 日期:2024年07月01日 47542 -
2024年7月1日最新蓖麻油价格行情走势查询
图片来源于网络,如有侵权,请联系删除曲合期货网提供2024年7月1日蓖麻油价格最新行情、蓖麻油价格今日报价查询、蓖麻油最新走势分析。 品种 报价 规格 产地 蓖麻油 14400(元/吨) 195公斤/桶 含量99% 印度 蓖麻油 19000(元/吨) 型号:精炼级,200KG/桶 国产 今日(2024...
作者:小微 日期:2024年07月01日 61787 -
2024年7月1日工业面粉价格行情今日报价查询
图片来源于网络,如有侵权,请联系删除曲合期货网提供2024年7月1日工业面粉价格最新行情、工业面粉价格今日报价查询、工业面粉最新走势分析。 品种 报价 规格 产地 工业面粉 1900(元/吨) 含量75% 河南宝兴 工业面粉 2300(元/吨) 含量75% 森之淼 工业面粉 2580(元/...
作者:小微 日期:2024年07月01日 46708 -
(2024年7月1日)今日小麦期货和美小麦价格行情查询
图片来源于网络,如有侵权,请联系删除曲合期货网提供(2024年7月1日)今日小麦期货和美小麦价格行情查询,查询请点击表格下方走势图。 (2024年7月1日)今日小麦期货和美小麦价格行情查询 交易所 合约名称 今日开盘价 昨日结算价 郑商所 强麦期货主力 0.00 3050.00 芝加哥CBOT 小麦当月...
作者:小微 日期:2024年07月01日 48367 -
(2024年7月1日)白糖期货价格行情今日报价
图片来源于网络,如有侵权,请联系删除曲合期货网提供(2024年7月1日)今日白糖期货价格、今日报价,查询白糖行情走势请点击表格下方走势图。 (2024年7月1日)白糖期货价格行情今日报价 合约名称 今日开盘价 昨日收盘价 昨日结算价 白糖期货主力 6228.00 6212.00 6176.00 白糖期货2409...
作者:小微 日期:2024年07月01日 72411 -
豆粕期货主力本周K线收阳 内盘豆粕预计震荡运行
图片来源于网络,如有侵权,请联系删除本周(6月24日-6月28日),本周K线收阳。截至本周五(6月28日)收盘,合约收于3374.00元/吨。据数据显示,本周初,主力合约开盘报3334元/吨,周内涨幅达0.84%,持仓量环比前一周减持1030手。 豆粕期货实时行情 更新时间:---- 最新价 -- 涨跌值 -- 涨跌幅 -- 6月24日-6月28日数据...
作者:小微 日期:2024年06月30日 63573 -
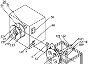
安利股份获得实用新型专利授权:“一种预凝聚槽加装张力控制装置”
图片来源于网络,如有侵权,请联系删除证券之星消息,根据企查查数据显示安利股份(300218)新获得一项实用新型专利授权,专利名为“一种预凝聚槽加装张力控制装置”,专利申请号为CN202322282810.8,授权日为2024年6月14日。 专利摘要:本实用新型公开了一种预凝聚槽加装张力控制装置,涉及预凝聚槽技术领域,包括预凝聚槽本体,所述预凝聚槽本体顶端且靠近两侧边缘位置处固定安装有一号安装座,两个所述一号安装座顶端均固定安装有一号轴承座,两个所述一号轴承座内部转动安装调节...
作者:小微 日期:2024年06月29日 60846 -
2024年6月29日松树皮价格行情今日报价查询
图片来源于网络,如有侵权,请联系删除曲合期货网提供2024年6月29日松树皮价格最新行情、松树皮价格今日报价查询、松树皮最新走势分析。 品种 报价 规格 产地 松树皮 400(元/立方米) 30-80mm 国产 今日(2024年6月29日)国产松树皮(规格:30-80mm)最新价格行情报400元/立方米。图片来源于网络,如有侵权,请联系删除 备注...
作者:小微 日期:2024年06月29日 66089 -
2024年6月29日最新白糖价格行情走势查询
图片来源于网络,如有侵权,请联系删除曲合期货网提供2024年6月29日白糖价格最新行情、白糖价格今日报价查询、白糖最新走势分析。 品种 报价 规格 产地 白糖 1780(元/吨) 工业级 含量30-35% 国产 白糖 3500(元/吨) 工业级 含量30-35% 国产 白糖 3500(元/...
作者:小微 日期:2024年06月29日 54027
