-
吉曜通行首次详解生态蓝图:战略共赢的实施路径
图片来源于网络,如有侵权,请联系删除在全球汽车产业电动化转型的关键窗口期,动力电池技术创新与产业链生态构建,正成为车企重构全球竞争格局的核心战场。今年的上海车展期间,吉利控股集团正式对外披露了其电池业务整合的关键动作,宣布成立浙江吉曜通行能源科技有限公司(以下简称“吉曜通行”),并将旗下神盾短刀电池与金砖电池两大技术品牌深度整合为“神盾金砖电池”,将“神盾”所代表的极致电池安全系统,与“金砖”象征的行业领先电芯技术进行系统性融合,形成“极致安全系统+行业领先电芯”的技术共同体...
作者:小微 日期:2025年06月03日 52270 -
江苏雷利获得发明专利授权:“一种有刷直流电机”
图片来源于网络,如有侵权,请联系删除证券之星消息,根据天眼查APP数据显示江苏雷利(300660)新获得一项发明专利授权,专利名为“一种有刷直流电机”,专利申请号为CN201910142577.9,授权日为2025年6月3日。 专利摘要:本发明提供了一种有刷直流电机,包括定子和转子,定子的多对定子磁极沿壳体的圆柱形腔体的内壁均匀分布,转子的铁芯设置在圆柱形腔体内,其具有沿圆周方向均匀分布的多个铁芯齿,相邻的铁芯齿限定铁芯槽,绕组布置在所述铁芯槽中,绕组经由换向器和电刷接收...
作者:小微 日期:2025年06月03日 39383 -
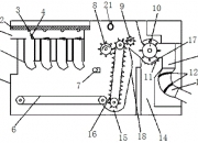
铁建重工获得实用新型专利授权:“磁浮轨排间连接伸缩装置及磁浮系统轨道”
证券之星消息,根据天眼查APP数据显示铁建重工(688425)新获得一项实用新型专利授权,专利名为“磁浮轨排间连接伸缩装置及磁浮系统轨道”,专利申请号为CN202420898231.8,授权日为2025年6月3日。 专利摘要:本实用新型公开了一种磁浮轨排间连接伸缩装置及磁浮系统轨道,包括第一轨道梁、第二轨道梁、第一轨排、第二轨排、井字形轨枕、主F轨以及扣件系统,所述第一轨排设置于所述第一轨道梁,所述第二轨排设置于所述第二轨道梁,所述扣件系统用于固定所述井字形轨枕,所述连接...
作者:小微 日期:2025年06月03日 35786 -
未来电器获得实用新型专利授权:“带温度采集的智能断路器”
图片来源于网络,如有侵权,请联系删除证券之星消息,根据天眼查APP数据显示未来电器(301386)新获得一项实用新型专利授权,专利名为“带温度采集的智能断路器”,专利申请号为CN202421879898.X,授权日为2025年6月3日。 专利摘要:本实用新型提供了一种带温度采集的智能断路器,所述带温度采集的智能断路器包括壳体、设置在所述壳体上的断路手柄、设置在所述壳体内的多个静触头连接线、用以控制所述带温度采集的智能断路器的主线路板、与所述主线路板插接的进线端温度采集线路...
作者:小微 日期:2025年06月03日 52426 -
海伦哲获得实用新型专利授权:“一种车载式可折叠防雨雪电缆分接箱”
证券之星消息,根据天眼查APP数据显示海伦哲(300201)新获得一项实用新型专利授权,专利名为“一种车载式可折叠防雨雪电缆分接箱”,专利申请号为CN202420753986.9,授权日为2025年6月3日。 专利摘要:本实用新型提供了一种车载式可折叠防雨雪电缆分接箱,属于电力作业设备技术领域。解决了现有技术中分接箱会占用更多车厢空间,电缆接入后无法关门作业,以及不能防雨雪的技术问题。其技术方案为:包括箱体,箱体后侧设有进线孔,其特征在于,箱体前端上侧通过上合页连接设有上...
作者:小微 日期:2025年06月03日 35731 -
鞍钢股份获得实用新型专利授权:“一种蒸氨废水管道在线清透装置”
图片来源于网络,如有侵权,请联系删除证券之星消息,根据天眼查APP数据显示鞍钢股份(000898)新获得一项实用新型专利授权,专利名为“一种蒸氨废水管道在线清透装置”,专利申请号为CN202421665172.6,授权日为2025年6月3日。 专利摘要:本实用新型涉及一种蒸氨废水管道在线清透装置,包括蒸氨塔,蒸氨塔入口连接剩余废水管道,蒸氨塔底部设有蒸氨废水出口,蒸氨废水出口通过管道依次连接蒸氨废水泵、蒸氨废水冷却器,蒸氨废水冷却器分别连接废水调节池和事故池,剩余废水处理...
作者:小微 日期:2025年06月03日 39322 -
中国西电获得实用新型专利授权:“一种变压器角环划线装置”
图片来源于网络,如有侵权,请联系删除证券之星消息,根据天眼查APP数据显示中国西电(601179)新获得一项实用新型专利授权,专利名为“一种变压器角环划线装置”,专利申请号为CN202422010742.4,授权日为2025年6月3日。 专利摘要:本实用新型公开了一种变压器角环划线装置,包括支架、导轨和划线尺;所述导轨安装在支架上,所述支架为扇形结构,所述导轨包括固定导轨和转动导轨,所述固定导轨和转动导轨的一端通过铰链连接,所述转动导轨可绕铰链轴旋转,所述固定导轨和转动导...
作者:小微 日期:2025年06月03日 45765 -
拉普拉斯获得实用新型专利授权:“舟结构”
图片来源于网络,如有侵权,请联系删除证券之星消息,根据天眼查APP数据显示拉普拉斯(688726)新获得一项实用新型专利授权,专利名为“舟结构”,专利申请号为CN202421846177.9,授权日为2025年6月3日。 专利摘要:本公开涉及光伏技术领域,具体涉及一种舟结构,解决了相关技术中石墨舟放在桨上时容易损坏舟页的问题。本公开的舟结构包括舟页组件、多个第一连杆、多个第一隔块和多个第二隔块;多个所述第二隔块包括多个中间支撑隔块,中间支撑隔块的下端形成用于与桨结构接触的...
作者:小微 日期:2025年06月03日 50012 -
康冠科技获得实用新型专利授权:“一种可多场景应用的显示设备固定结构”
图片来源于网络,如有侵权,请联系删除证券之星消息,根据天眼查APP数据显示康冠科技(001308)新获得一项实用新型专利授权,专利名为“一种可多场景应用的显示设备固定结构”,专利申请号为CN202421980641.3,授权日为2025年6月3日。 专利摘要:本实用新型公开了一种可多场景应用的显示设备固定结构,设计显示设备技术领域,上述可多场景应用的显示设备固定结构包括显示设备和支撑件,支撑件连接于显示设备上,当显示设备悬挂在悬挂基准面上时,支撑件用于与悬挂基准面连接,在...
作者:小微 日期:2025年06月03日 42750 -
福耀玻璃获得实用新型专利授权:“包边结构、天窗组件及车辆”
图片来源于网络,如有侵权,请联系删除证券之星消息,根据天眼查APP数据显示福耀玻璃(600660)新获得一项实用新型专利授权,专利名为“包边结构、天窗组件及车辆”,专利申请号为CN202421705241.1,授权日为2025年6月3日。 专利摘要:本申请提供一种包边结构、天窗组件及车辆,包边结构包括基座及软体部,基座包括基座主体和凸起,基座主体包括第一支撑面,凸起凸设于第一支撑面,并位于第一支撑面的边缘,凸起包括内面,内面与第一支撑面连接,内面向第一支撑面的方向倾斜,并...
作者:小微 日期:2025年06月03日 40943


