-
潍柴动力获得发明专利授权:“一种颗粒物的处理方法、装置及电子设备”
图片来源于网络,如有侵权,请联系删除证券之星消息,根据天眼查APP数据显示潍柴动力(000338)新获得一项发明专利授权,专利名为“一种颗粒物的处理方法、装置及电子设备”,专利申请号为CN202510156626.X,授权日为2025年6月20日。 专利摘要:本发明公开了一种颗粒物的处理方法、装置及电子设备,该方法包括:获取在预设时长内消除颗粒物捕集器中的目标颗粒物的次数信息;依据在预设时长内消除颗粒物捕集器中的目标颗粒物的次数信息,确定目标车辆的发动机中的目标颗粒物的状...
作者:小微 日期:2025年06月21日 37236 -
荣亿精密获得发明专利授权:“一种电磁阀生产用绕线装置及其工作方法”
图片来源于网络,如有侵权,请联系删除证券之星消息,根据天眼查APP数据显示荣亿精密(873223)新获得一项发明专利授权,专利名为“一种电磁阀生产用绕线装置及其工作方法”,专利申请号为CN202510421587.1,授权日为2025年6月20日。 专利摘要:本发明公开了一种电磁阀生产用绕线装置及其工作方法,绕线装置包括上料机构、绕线机、电磁阀骨架安装机构和下料机构;绕线机设有绕线主轴,电磁阀骨架安装机构包括移动座及三轴移动组件,移动座上固定有电磁阀骨架的放置槽;放置槽设...
作者:小微 日期:2025年06月21日 38228 -
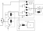
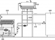
格力电器获得发明专利授权:“控制方法、装置、电子设备、热水器及存储介质”
图片来源于网络,如有侵权,请联系删除证券之星消息,根据天眼查APP数据显示格力电器(000651)新获得一项发明专利授权,专利名为“控制方法、装置、电子设备、热水器及存储介质”,专利申请号为CN202310078161.1,授权日为2025年6月20日。 专利摘要:本申请提供的一种控制方法、装置、电子设备、热水器及存储介质,在预热功能启动的情况下,基于目标设定温度控制所述热水器对所述进水口流进的水进行加热;在确定将加热后的水输送到第一用水点的情况下,控制所述热水器停止加热...
作者:小微 日期:2025年06月21日 38036 -
博力威获得实用新型专利授权:“防倒灌的充电电路及电池”
图片来源于网络,如有侵权,请联系删除证券之星消息,根据天眼查APP数据显示博力威(688345)新获得一项实用新型专利授权,专利名为“防倒灌的充电电路及电池”,专利申请号为CN202421829633.9,授权日为2025年6月6日。 专利摘要:本公开提供一种防倒灌的充电电路及电池。上述的防倒灌的充电电路包括供电电路及逻辑控制电路,供电电路包括第七电阻及导流二极管,逻辑控制电路包括第一、第二电子开关管及集成芯片;第七电阻两端分别与充电电路的正极及导流二极管的正极连接;第一...
作者:小微 日期:2025年06月21日 38192 -
青达环保获得发明专利授权:“一种鳞斗式一步进仓干渣机”
图片来源于网络,如有侵权,请联系删除证券之星消息,根据天眼查APP数据显示青达环保(688501)新获得一项发明专利授权,专利名为“一种鳞斗式一步进仓干渣机”,专利申请号为CN202211546679.5,授权日为2025年6月20日。 专利摘要:本发明涉及锅炉除渣设备技术领域,具体为一种鳞斗式一步进仓干渣机,包括机体,所述机体上设有渣井,所述渣井上设有进渣斗,所述渣井内设有两对称布置的关断门,所述关断门顶面为弧面形状,所述机体内设有鳞斗式炉渣输送带,所述机体内设有冷风输...
作者:小微 日期:2025年06月21日 46044 -
新华能源周报丨财政部:2025 年可再生能源电价附加补助地方资金预算 41.9 亿元;发改委:国内成品油价格按机制调整;中国石油 “数智孪生” 技术破局!
图片来源于网络,如有侵权,请联系删除 本周(6月16日—6月20日),2025 年可再生能源电价附加补助地方资金预算 41.9 亿元,主要用于内蒙古、云南、新疆等地已纳入补贴清单的风电、太阳能、生物质等发电项目。行业方面,国内成品油价格按机制调整, 自17 日 24 时起,国内汽、柴油价格每吨分别上涨 260 元、255 元;福建首个混合式抽水蓄能电站主体工程开工。 政策动向: 6月16日 财政部: 2025 年可再生能源电价附加补助地方资金预算 41.9 亿元 6...
作者:小微 日期:2025年06月20日 35929 -
【企业动态】中材国际新增1件判决结果,涉及买卖合同纠纷
图片来源于网络,如有侵权,请联系删除证券之星消息,根据企查查数据显示,近日公布了中材国际(600970)作为被告的《买卖合同纠纷民事一审裁定书》,详细内容如下: 案号:(2025)苏0191民初2443号 标题:买卖合同纠纷民事一审裁定书 审理法院:江苏省江宁经济技术开发区人民法院 案由:买卖合同纠纷 裁判结果:本案按原告福州某电气股份有限公司撤回起诉处理。 当事人信息: 原告:福...
作者:小微 日期:2025年06月20日 50123 -
广汽集团获得实用新型专利授权:“车门铰链装置和车辆”
图片来源于网络,如有侵权,请联系删除证券之星消息,根据天眼查APP数据显示广汽集团(601238)新获得一项实用新型专利授权,专利名为“车门铰链装置和车辆”,专利申请号为CN202422159508.8,授权日为2025年6月20日。 专利摘要:本实用新型公开了一种车门铰链装置和车辆,所述车门铰链装置包括:第一安装板,所述第一安装板与车门连接;第二安装板,所述第二安装板与车身连接;第一连杆,所述第一连杆可活动地与第一安装板和第二安装板相连;第二连杆,所述第二连杆可活动地与...
作者:小微 日期:2025年06月20日 41063 -
海尔智家获得实用新型专利授权:“衣物护理机的挂烫装置及衣物护理机”
图片来源于网络,如有侵权,请联系删除证券之星消息,根据天眼查APP数据显示海尔智家(600690)新获得一项实用新型专利授权,专利名为“衣物护理机的挂烫装置及衣物护理机”,专利申请号为CN202421806407.9,授权日为2025年6月20日。 专利摘要:本实用新型涉及衣物护理设备技术领域,具体提供一种衣物护理机的挂烫装置及衣物护理机,旨在解决现有的衣物护理机的挂烫装置结构复杂且功能单一,导致护理效果不佳的问题。为此目的,本实用新型的挂烫装置包括:安装在护理腔顶部的挂...
作者:小微 日期:2025年06月20日 53277 -
广汽集团获得外观设计专利授权:“发动机舱盖板”
图片来源于网络,如有侵权,请联系删除证券之星消息,根据天眼查APP数据显示广汽集团(601238)新获得一项外观设计专利授权,专利名为“发动机舱盖板”,专利申请号为CN202430663719.8,授权日为2025年6月20日。 专利摘要:1.本外观设计产品的名称:发动机舱盖板。2.本外观设计产品的用途:本产品用于汽车发动机舱的装饰和防护。3.本外观设计产品的设计要点:在于形状。4.最能表明设计要点的图片或照片:立体图1。5.本外观设计产品的底面为使用时不容易看到或看不到...
作者:小微 日期:2025年06月20日 41091
