-
海康威视获得发明专利授权:“基于神经网络的密态多媒体数据安全防御方法及装置”
图片来源于网络,如有侵权,请联系删除证券之星消息,根据企查查数据显示海康威视(002415)新获得一项发明专利授权,专利名为“基于神经网络的密态多媒体数据安全防御方法及装置”,专利申请号为CN202410705110.1,授权日为2024年7月26日。 专利摘要:本申请提供一种基于神经网络的密态多媒体数据安全防御方法及装置,该方法包括:在原始加密多媒体流量中添加隐式数字水印信息得到水印加密多媒体流量;确定水印加密多媒体流量的第一特征序列;所述第一特征序列包括每个分段流量的第...
作者:小微 日期:2024年07月27日 43952 -
亚香股份获得实用新型专利授权:“一种甜味剂纯度检测装置”
图片来源于网络,如有侵权,请联系删除证券之星消息,根据企查查数据显示亚香股份(301220)新获得一项实用新型专利授权,专利名为“一种甜味剂纯度检测装置”,专利申请号为CN202323402375.4,授权日为2024年7月26日。 专利摘要:本实用新型涉及甜味剂检测技术领域,且公开了一种甜味剂纯度检测装置,包括检测台,所述检测台周侧安装有摇匀筒,所述摇匀筒内部安装有电机,所述电机上安装有转轴,所述转轴上均匀分布安装有限位盘,所述限位盘上开设有试管插槽,所述限位盘周侧壁上开...
作者:小微 日期:2024年07月27日 64323 -
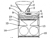
美硕科技获得实用新型专利授权:“一种大通量进水电磁阀”
图片来源于网络,如有侵权,请联系删除证券之星消息,根据企查查数据显示美硕科技(301295)新获得一项实用新型专利授权,专利名为“一种大通量进水电磁阀”,专利申请号为CN202323442218.6,授权日为2024年7月26日。 专利摘要:本实用新型公开了一种大通量进水电磁阀,包括阀体和线圈模块,阀体的隔膜腔内设有隔膜结构,隔膜结构将隔膜腔分隔成上腔室和下腔室,阀体顶部边缘设置有凸起部,线圈模块安装在凸起部上,凸起部内成型有连通上腔室的压力腔,阀体与凸起部之间设置有竖向连...
作者:小微 日期:2024年07月27日 47867 -
中国石油获得发明专利授权:“井口悬挂装置”
图片来源于网络,如有侵权,请联系删除证券之星消息,根据企查查数据显示中国石油(601857)新获得一项发明专利授权,专利名为“井口悬挂装置”,专利申请号为CN201810888011.6,授权日为2024年7月26日。 专利摘要:本发明提供了一种井口悬挂装置,属于油井设备领域。该装置包括:紧固件、压盖、锥体、壳体、第一密封件、注脂嘴、第一垫环、第二密封件、第二垫环和套管接箍;壳体内壁沿圆周方向设置有凹形台阶,第二垫环、第二密封件、第一垫环、第一密封件和锥体顺次镶嵌在壳体内壁...
作者:小微 日期:2024年07月27日 63070 -
中国石油获得发明专利授权:“机械密封模拟泄漏实验装置”
图片来源于网络,如有侵权,请联系删除证券之星消息,根据企查查数据显示中国石油(601857)新获得一项发明专利授权,专利名为“机械密封模拟泄漏实验装置”,专利申请号为CN202011183500.5,授权日为2024年7月26日。 专利摘要:本发明提供了一种机械密封模拟泄漏实验装置,包括气体泄漏检测组件,气体泄漏检测组件包括:空气压缩机;气体缓冲腔,内设有沿轴向延伸的盘管,盘管的入口与空气压缩机连通;气体观察腔,内部设置有气体实验管、泄漏检测组件和光学传感器,气体实验管的入...
作者:小微 日期:2024年07月27日 55856 -
德尔玛获得发明专利授权:“空气炸锅”
图片来源于网络,如有侵权,请联系删除证券之星消息,根据企查查数据显示德尔玛(301332)新获得一项发明专利授权,专利名为“空气炸锅”,专利申请号为CN202111301641.7,授权日为2024年7月26日。 专利摘要:本发明公开了一种空气炸锅,所述空气炸锅包括底座和烹饪套件,所述底座内设有开关,所述开关包括多个第一开关,所述底座的顶部设有加热腔,所述加热腔内设有加热件和风扇,所述烹饪套件包括多个烹饪器具,所述底座具有与多个所述烹饪器具对应的多个烹饪模式,每个所述烹饪器...
作者:小微 日期:2024年07月27日 58996 -
星宇股份获得发明专利授权:“一种简易拉伸实验装置”
图片来源于网络,如有侵权,请联系删除证券之星消息,根据企查查数据显示星宇股份(601799)新获得一项发明专利授权,专利名为“一种简易拉伸实验装置”,专利申请号为CN201710216643.3,授权日为2024年7月26日。 专利摘要:本发明公开了一种简易拉伸实验装置,包括上模块和下模块,上模块与下模块上下对称设置,上模块和下模块均是由固定端部分和夹持端部分组成,固定端部分与夹持端部分活动连接;固定端部分包括实验机法兰和调节块,实验机法兰位于调节块的上部并与调节块通过螺钉...
作者:小微 日期:2024年07月27日 55407 -
中国石油获得发明专利授权:“一种直井新井双裂缝系统压裂工艺方法”
图片来源于网络,如有侵权,请联系删除证券之星消息,根据企查查数据显示中国石油(601857)新获得一项发明专利授权,专利名为“一种直井新井双裂缝系统压裂工艺方法”,专利申请号为CN202210767003.2,授权日为2024年7月26日。 专利摘要:本发明涉及采油工程技术领域,具体地涉及一种直井新井双裂缝系统压裂工艺方法。它主要解决了现有低渗透及致密储层直井常规单裂缝系统改造体积有限问题。首先对目的层段进行射孔,然后进行压裂施工形成第一个主裂缝系统,裂缝沿最大水平主应力方...
作者:小微 日期:2024年07月27日 59821 -
安科瑞获得外观设计专利授权:“公共测控装置(AM6-K1)”
图片来源于网络,如有侵权,请联系删除证券之星消息,根据企查查数据显示安科瑞(300286)新获得一项外观设计专利授权,专利名为“公共测控装置(AM6-K1)”,专利申请号为CN202430020089.2,授权日为2024年7月26日。 专利摘要:1.本外观设计产品的名称:公共测控装置(AM6?K1)。2.本外观设计产品的用途:用于中压配电系统的进线、大容量主变压器出线回路,实现变电站主变高低两侧电参量和站用变电压电流等遥测、站内二次设备装置异常和告警信号等遥信、站内刀闸等...
作者:小微 日期:2024年07月27日 60728 -
唯捷创芯获得实用新型专利授权:“半导体封装结构”
图片来源于网络,如有侵权,请联系删除证券之星消息,根据企查查数据显示唯捷创芯(688153)新获得一项实用新型专利授权,专利名为“半导体封装结构”,专利申请号为CN202322973662.4,授权日为2024年7月26日。 专利摘要:本实用新型提供了一种半导体封装结构,包括:基板,其正面设置有凹槽,且凹槽的底部设置有若干个第一金属焊盘;滤波器芯片,其正面上设置有若干个第一金属结构,滤波器芯片固定在凹槽的底部,第一金属结构连接至第一金属焊盘且与滤波器芯片的正面、凹槽的底部之...
作者:小微 日期:2024年07月27日 50609
